(Datum der
letzten Änderung: 20. März 2006)
Vorwort:
Nachdem ich schon in einem vorherigen Dokument (BMW-Syndikat.de
- Nice2know - Fahrwerktechnik ...) die allgemeine Fahrwerksgeometrie
beschrieben habe und es leider immer wieder zu
viele Unsicherheiten und Fehlinformationen zum Thema „e36 Fahrwerk“ gibt,
möchte ich einmal ganz speziell auf die Achsgeometrie des BMW
e36 eingehen.
Dabei möchte ich einen Blick auf die Serienteile (aller Motorisierungsvarianten)
geben sowie Hinweise und Tipps zum Einbau anderer Komponenten und
deren Einfluss auf das Fahrverhalten und Haltbarkeit erläutern.
 |
Zur Sicherheit bei Arbeiten am Fahrzeug:
Selbstverständlich müssen alle Arbeiten am Fahrzeug
mit einer Gründlichkeit ausgeführt werden, so daß
das Fahrzeug nicht negativ im Fahrverhalten beeinflusst wird
und damit eine
Gefahr für sich selbst und andere darstellt.
Außerdem sollte auch bei den Arbeiten selbst darauf geachtet
werden das man sich keiner Gefahr aussetzt. Immer Schutzkleidung
tragen: Je nach Bedarf eine Schutzbrille, Handschuhe und IMMER
Sicherheitsschuhe! Bei aufgebocktem Fahrzeug immer Unterstellböcke
verwenden! Wenn keine Vorhanden sind, kann man auch das demontierte
Rad unter das Auto legen.
In gleichem Maße
wichtig wie gutes Material ist auch gutes Werkzeug. Vergesst
diesen Baumarktschrott, macht Euch mit so was nicht unglücklich.
Wenn Ihr Euch bei
einer Arbeit nicht sicher seid und es sich um sicherheitsrelevante
Fahrzeugkomponenten handelt (Fahrwerk, Bremsen etc.), zieht
einen Fachmann zu Rate! Und damit meine ich nicht jemanden,
der das
Buch „Jetzt helfe ich mir selbst“ schon ein zweites
Mal durchgeblättert hat...
Auch dieses Dokument
ist kein Freibrief, mit der sich jeder Freizeitpfuscher an einer
Arbeit "versuchen"soll! Es ist ein Leitfaden, der lediglich
einen Überblick schaffen und Reparaturschritte erläutern
soll!
Diese klaren und deutlichen
Worte sind leider am Anfang immer nötig, denn ich habe
in meinen Schrauberjahren schon so viele Idioten mit Schraubenschlüssel
gesehen und so viele „Schrauberunfälle“ miterleben
müssen, daß ich nicht genug vor den Gefahren warnen kann!
|
Begriffserklärungen:
| Symbole in diesem Dokument: |
|
Warnung
oder wichtiger Hinweis! |
|
Tipps zum
Umbau und Anleitungen für den erfahrenen "Hobbyschrauber" |
Die Grundbegriffe der Achsgeometrie:
Ich werde an dieser Stelle
nochmals die gängigsten Grundbegriffe bzw. Größen
der Achsgemotrie auflisten. Da ich mich auf das Fahrwerk des
e36 beschränke, erkläre ich nur folgende Fahrwerksgrößen:
Spur,
Sturz, Spreizung, Nachlauf, Lenkrollhalbmesser
|
Spur:
Die Spur beschreibt
die Längendifferenz, um die die beiden
Räder einer Achse vorne näher zusammen stehen als hinten.
Sind die Räder vorne näher zusammen, so spricht man
von "Positiver
Spur" (Vorspur), umgekehrt
von "Negativer Spur" oder auch "Nachspur". |
|
Sturz:
Beschreibt den Winkel
der Radebene zu einer im Aufstandspunkt des Rades errichteten
Senkrechten quer zur Fahrzeugslängsachse. |
|
Spreizung:
Ist der Winkel zwischen
der schräg gestellten Lenkachse und
einer Senkrechten zur Fahrbahn quer zur Fahrzeuglängsachse |
|
Nachlauf:
Der Nachlauf entsteht
durch eine Schrägstellung der Lenkdrehachse
bzw. des Achsschenkelbolzens in Richtung der Fahrzeuglängsachse
gegenüber einer Senkrechten zu Fahrbahn. Diese Größe
ist nur für die gelenkte Achse entscheidend. Fahrzeuge mit
Heckantrieb haben immer positiven Nachlauf, d.h. der obere Punkt
der Lenkdrehachse liegt in Fahrzeuglängsachse weiter hinten
als der untere Punkt. Beim e36 werden diese beiden Punkte gebildet
durch: Das Radführungsgelenk im Querlenker unten und oben
durch das Domlager. Ein positiver Nachlauf ist maßgeblich
für einen guten Geradeauslauf und Spurtreue. |
|
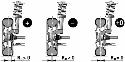
Lenkrollhalbmesser:
Spreizung und Sturz
bilden den Lenkrollhalbmesser. Dieses Maß ist
nur für die gelenkte Achse relevant. Er wird zwischen der
Mitte der Radaufstandsfläche und dem Durchstoßpunkt
der verlängerten Lenkdrehachse durch die Fahrbahn gemessen.
Es gibt positiven, negativen und neutralen LRH. Erstrebenswert
ist immer ein negativer LRH. Dieser wird ermöglicht durch
tiefe Radschüsseln (hohe ET) und kompakte Bremsanlagen. Treten
einmal unterschiedliche Bremskräfte an beiden Rädern
der gelenkten Achse auf, so wird das Rad beim negativen LRH stärker
durch auftretendes Drehmoment nach innen geschwenkt. Dadurch entsteht
ein selbstständiges Gegenlenken, welches genau der Kraft entgegen
wirkt, die das Fahrzeug zu der Seite des stärker gebremsten
Rades (z.B. Reifenplatzer) zieht. Somit stabilisiert sich das Fahrzeug
selbsttätig.
Werden Felgen mit niederiger ET verbaut, so kann der Lenkrollhalbmesser
neutral oder gar positiv werden, was zur Folge hat, das das Fahrzeug
noch stärker auf die Seite zieht, auf die es z.B. durch ein
blockierendes Rad gezwungen wird. Auch im normalen Fahrbetrieb
verliert so ein modifiziertes Fahrzeug sehr viel an Spurtreue und
neutralem Geradeauslauf.
|
Der Fahrwerksaufbau
des e36
Vorderachse
(schematisch, alle e36):

 |
Die Vorderachse
der Baureihe e36 besteht konventionell aus: Lenkung, unten liegendem
Querlenker, McPherson Federbein, Stabilisator, Scheibenbremse.
Hier wurde eins-zu-eins
die bewährte Technik in fast identischen Abmessungen des
e30 verwendet.
Im Oktober 1991 wurde
die Stabilisatoraufhängung sowie Anlenkung auf den aktuellen
Stand modifiziert. Vor diesem Datum wurde
bei allen e36 der Vorderachs-Stabilisator
über eine längere, nach oben gerichtete Pendelstütze
vom Federbein angelenkt, so wie es beim M3 durch den gesamten Produktionszeitraum
erfolgte (siehe Schema Vorderachse, Bild oben).
Viele Nachrüst-Fahrwerke
werden baujahrabhängig angeboten, dies wird zum einen wg.
der o.g. Stabirevision und zum anderen wg. der im Juli 1992 revidierten
Domagern an der Vorderachse beim 6-Zylinder gemacht.
Näheres zu den
Änderung und den nötigen Umbaumaßnahmen auf den
letzten Produktionsstand weiter unten. |
Hinterachse (Limo,
Touring, Coupe, Cabrio):

Die Hinterachse ist
eine sogenannte „Raumlenkerachse“ (erstmals
verbaut im Z1), bestehend aus einem Längslenker, Doppelquerlenker
(oberer Querlenker + Druckstrebe), Tonnenfeder mit progressiver
Kennlinie zwischen oberem Querlenker und Fahrzeugaufbau, Schwingungsdämpfer,
Bremse (Scheibe oder Trommel) sowie, je nach Fahrzeug- und/oder
Fahrwerkstyp, einem Stabilisator.
Durch die Verwendung
eines Längslenkers bewegt sich der Radmittelpunkt beim
Einfedern auf einer Kreisbahn um die Querachse des Fahrzeugs.
Das gewährleistet höheren Komfort (Radstandsänderung)
als eine reine (Doppel)-Querlenkerkonstruktion.
Durch die Verwendung
zweier unterschiedlich langer Querlenker erreicht man beim
Einfedern eines Rades einen höheren negativen
Sturz, welches sich positiv auf die Seitenführungskräfte
in Kurvenfahrt auswirkt. |
 |
Hinterachse e36 Compact & Z3:

Die Hinterachsebauweise
des e36 Compact und Z3 entspricht von ihrer Geometrie und Bauweise
der des e30. Auch hier arbeiten Dämpfer und Feder nebeneinander.
Die
Radaufhängung erfolgt durch Schräglenker die am durchgehenden
Querträger
gelagert sind. Das Differentialgehäuse bildet den dritten und
hintersten Befestigungspunkt der Achsaufnahme und ist somit für
die Aufhängung
ein relevantes und tragendes Teil.
Beim Einfedern
ändert sich bei dieser Konstruktion sowohl der Radstand als auch
die Spur UND der Sturz. Bei extrem tiefergelegten Fahrzeugen
kann man oft diesen negativen Sturz bedingt durch das geänderte Niveau
beobachten.
Varianten:
Die Unterschiede liegen
im Detail. Manche Bauteile unterscheiden sich durch Ihre Formgebung
und verändern somit die konstruktiv bedingten
Achswerte und/oder sind aus anderen Materialien gefertigt, um höhere
Belastungen aushalten zu können und das Ansprechen der Achsen
zu verbessern.
Neben den „ab Werk“ zu
beziehenen Federn/Dämpfer-Kombinationen
gibt es eine Unzahl von Nachrüst-Fahrwerken - meist nur
bestehend aus vier Dämpfern und vier Federn -, daher gehe ich
hierauf nicht näher ein.
Querlenker der Vorderachse:
Der Querlenker
hat drei Gelenke. Mit zweien davon ist er am Fahrzeugaufbau befestigt,
mit einem am Achsschenkel. Der Querlenker führt den
Aufnahmepunkt des Achsschenkels beim Aus- und Einfedern auf einer
Kreisbahn um die Längsachse des Fahrzeugs. Er muß Längs-
und Querkräfte aufnehmen. Das hintere Lager muß Kräfte
in Fahrzeug-Querachse sowie Torsionskräfte
aufnehmen.
Auf dem linken Bild ist
der Querlenker als Rohteil ohne Lager zu sehen, daneben im eingebauten
Zustand.
Das hintere Gummi-Querlenkerlager
„A“ gibt es in drei verschiedenen Ausführungen:
|
1) Serie:
Bei allen e36 (auch Compact), außer M3/AVUS-Serie. Sehr
weiches Lager. Bei starkem Verschleiß neigen die Vorderräder
bei starken Bremsungen zum „Rubbeln“.
 |
Komfortbedingt
kann der Querlenkerzapfen bei diesem Lagertyp auf der Querachse
des Fahrzeugs federn. Wird auf ein Lager aus den "M-Modellen"
umgerüstet entfällt diese Komfortfunktion |
|
|
2) M3 3.0 und „AVUS-Serie“:
Das Lager ist aus Vollmaterial. Es bietet damit weniger Komfort,
ist aber haltbarer und das Ansprechen
der Vorachse wird präziser. Zudem ist die Aufnahme für
den Querlenkerzapfen zum Fahrzeugäußeren
versetzt (exzentrisch). Dadurch verlagert sich das Radführungsgelenk
(Querlenkerlager „C“)
in Fahrzeugslängsachse nach vorne, der Nachlauf
wird vergrößert und der Radstand verlängert. Beides
wirkt sich positiv auf die Spurtreue aus. Die Lenkkräfte erhöhen
sich dagegen. |
|
3) M3 3.2:
Das Lager ist nicht ganz aus Vollmaterial, bietet aber die gleiche
Haltbarkeit und Festigkeit des Lagers aus dem M3 3.0.
Lediglich die Zapfenaufnahme ist hier wieder mittig angebracht,
so daß die Geometrie wieder der des Serienlagers entspricht. |
|
Lagertausch:
Es können
alle drei Varianten problemlos gegeneinander ausgetauscht
werden. Alle Lager haben die exakt gleichen Aussenabmessungen
und passen in die originalen Lagerhalter.
Am Besten wird der
Querlenker ganz ausgebaut. Das ist zwar nicht zwingend notwendig,
aber am komfortabelsten.
Die Position des Lagers muß auf dem Zapfen markiert werden
(Abstände notieren)!

Die Einbaulage (Markierung)
gilt für alle Lagervarianten! |
| |
Da ein
trocken abgezogenes Lager nicht wieder verwendet werden darf,
kann es ruhig bei der Demontage zerstört werden. Da wahrscheinlich
keine Abziehvorrichtung vorhanden ist, wird der Gummikranz zerschnitten
und dann der innere Metallring durchgesägt. So löst
sich der letzte „Lagerrest“ vom Querlenkerzapfen.
Das neue Lager muß nun in den Lagerring eingepresst werden.
Es wird fettfrei (!) von der angeschrägten Seite eingepresst.
Für diesen Vorgang ist eine hydraulische Presse zwingend
notendig, mit einem Schraubstock o.ä. kann nicht genügend
Kraft aufgewendet werden.
Auf die richtige Einbaulage (Markierung) ist zu achten, besonders
bei den exzentrischen Lagern. Anschließend wird das Lager
wieder auf den Querlenkerzapfen aufgepreßt. Hierfür
müssen sowohl der Zapfen als auch der Lagerinnenring fettfrei
sein und mit einem „Terpentin-Ersatz“ bestrichen werden.
Wichtig: Unmittelbar nach der Montage kann das Lager auf dem Zapfen
noch verdreht werden. Das Fahrzeug muß dann schnellstens
mit montiertem Querlenker in die Normallage (= eingefedert) gebracht
werden und darf dann mind. 30 Minuten nicht mehr bewegt werden.
Dann ist das Terpentin verdunstet und das Lager sitzt fest auf
dem Zapfen. Wird das Lager verdreht montiert und steht damit in
Normallage unter Spannung, wirkt sich das negativ auf das Fahrverhalten
aus. Die Querlenkerlager sind immer paarweise zu tauschen!
Beim Einbau des Querlenkers sollten die beiden selbstsichernden
Muttern für Mittellager und Radführungsgelenk ersetzt
werden. Die Schrauben des Querlenkerhalters brauchen nicht erneuert
zu werden. Anzugsmoment: 47Nm.
Nach dem Tausch der
Querlenkerlager ist kein Einstellen der Achswerte erforderlich.
Wurde allerdings das konstruktiv anders ausgelegte Lager des M3
3.0 verbaut, so empfiehlt es sich die Gesamtvorspur mit einem
Spurmaß kontrollieren zu lassen. Ein komplette Vier-Rad-Vermessung
ist nicht nötig.
Satz
Lager Serie
Satz Lager
M3 3.0/AVUS
Satz Lager
M3 3.2
Halter Querlenker
links
Halter Querlenker
rechts
Terpentin-Ersatz |
31
12 9 059 288
31 12 9 064
875
31 12 9 069
035
31 12 1 139
789
31 12 1 139
790
81 22 9 407
284
|
|
Mittellager "B":
 |
Dieses
Lager ist wohl mit Abstand das haltbarste und Defekte durch Verschleiß
sind sogut wie ausgeschlossen. Bei einem Lagerdefekt bietet BMW
lediglich den Austausch des gesamten Querlenkers an.
 |
Im
Zubehör sind inzwischen qualitativ hochwertige Lager
als Ersatz für das mittlere Lager verfügbar. Der
Lagertausch vollzieht sich analog zum Vorgehen beim Radführungsgelenk
(siehe unten).
Ersatzteile sind
u.a. erhältlich von der Fa. "Meyle" (www.meyle.de)
Selbstsichernde
Mutter: 32 21 1 095 420 (90Nm) |
|
Radführungsgelenk „C“:
Die korrekte Bezeichnung für dieses Bauteil ist „Radführungsgelenk“ oder „Traggelenk“.
Es wird sehr oft falsch als „Stützlager“ bezeichnet.
Das „Stützlager“ ist bei BMW immer das Lager
zwischen Stossdämpfer und Fahrzeugaufbau. Das gilt sowohl für
die Vorder- als auch für die Hinterachse.
 |
 |
Das Radführungsgelenk
ist das große Sorgenkind der e36 Vorderachse. Laut BMW Serviceinformation
ist ein Tausch der nach 9/93 produzierten (Revision, konstruktive
Änderung) Gelenke nicht mehr notwendig. Wenn einem aber das
Fahrverhalten seines BMW am Herzen liegt, sollte man diese Gelenke
regelmäßig überprüfen (lassen). Die Haltbarkeit
schwankt je nach Fahrweise und Reifen/Fahrwerk zwischen 10- und
40tkm. |
Ein defektes Gelenk macht
sich durch schwammiges Fahrverhalten bemerkbar. Das Fahrzeug wirkt stark
seitenwindempfindlich, läuft Spurrillen nach, wirkt unruhig auf
Fahrbahnmarkierungen und beim Bremsen gibt es Vibrationen in der Lenkung
(meist zwischen 60-120km/h, wird durch Unwucht in Rädern noch verstärkt).
Unwucht in den gelenkten Rädern sowie das berühmte "Flattern"
der Lenkung beim Abbremsen wird durch ausgeschlagene Radführungsgelenke
noch verstärkt.
 |
Vom Austausch
in "Eigenregie" ohne entsprechendes Spezialwerkzeug
rate ich dringenst ab. Der Gang in die Werkstatt sollte bei Fahrwerkskomponenten
immer die erste Alternative sein!
(Bild links:
Ausführung des bei BMW verwendeten Spezialwerkzeuges. Der
komplette Satz umfasst noch eine Trenngabel zum Lösen der
Verbindung vom Radführungsgelenk zum Achsschenkel. Die Ausführung
des Spezialwerkzeuges erlaubt einen Austausch der Gelenke bei
eingebautem Querlenker.) |
|
Ich empfehle
die Gelenke immer achsweise zu tauschen. Auch wenn dies nicht
zwingend vorgeschrieben ist, der Verschleiß bei dem nicht
erneuerten Gelenk wird nicht lange auf sich warten lassen.
Ein Vermessen der Spur
ist nach der Reparatur NICHT erforderlich. |
|
Radführungsgelenk
Selbstsichernde
Mutter
|
31 12 6 758 510
32 21 1 095 267 (65Nm) |
|
Es gibt allerdings auch noch
die Möglichkeit, komplett andere Querlenker zu verbauen. Die Radführungsgelenke
in den Querlenkern des M3 sind anders aufgebaut und deutlich haltbarer.
Die M3-Querlenker bieten ebenfalls wie die Serienquerlenker die gleichen
Befestigungspunkte für die Pendelstützenaufnahmen. Diese Querlenker
sind in ihrer Geometrie mit der Serie absolut identisch und können
verbaut werden, ohne daß sich Werte an der Achseinstellung ändern.
Die Nachteile sind der höhere
Preis für einen kompletten Querlenker. Die Radführungsgelenke
können im Falle eines Defektes nicht einzeln getauscht werden (Dieses
Bauteil ist nicht einzeln bei BMW erhältlich).
|
Querlenker Serie LI
Querlenker
Serie RE
Querlenker
M3 3.0 LI
Querlenker
M3 3.0 RE |
31 12 6 758 513
31 12 6 758 514
31 12 2 227 249
31 12 2 227 250 |
|
Theoretisch können
auch die Querlenker vom e30 verbaut werden. Auch diese haben die gleichen
Maße wie die e36 Teile. Die
Verwendung der Alu-Querlenker vom e30 M3 ist nicht nötig. Der sehr
hohe Preis rechtfertigt nicht die Reduzierung der ungefederten Masse.
Neben dem Tausch gegen andere
originale BMW Teile kann man auch geänderte Radführungsgelenke
aus dem Zubehör beziehen.
Die Firma "Meyle" (www.meyle.com) bietet für eine Reihe
von BMW Fahrzeugen verstärke Lager und Verschleißteile an.
Unter anderem auch die Radführungsgelenke,
Querlenkerlager und Stützlager für den e36.
Zu beziehen z.B. bei www.bm24.de
 |
Das Bild
zeigt das verstärkte Ganzmetall-Radführungsgelenk von
Meyle im Querlenker für den e36. Ansicht von unten als Vergleich
zum originalen RFG von BMW.
Die Gelenke werden
einfach in den originalen BMW-Querlenker umgepresst.
Spezialwerkzeug ist
hierfür erforderlich. Dieses kann auch bei meyle bezogen
werden. |
|
Persönlich habe ich
sehr gute Erfahrung mit den Produkten von Meyle gemacht und kann den
Umbau der vorderen Radführungsgelenke nur empfehlen! Sie bieten
bei gleicher Präzision in der Lenkung eine deutlich preisgünstigere
Alternative zu den Querlenkern vom M3. Durch die Ausführung als
sog. "Ganzmetallgelenk" muß man mit Komforteinbußen
rechnen da die Verbindung zwischen Achsschenkel und Querlenker weniger
Kräfte absorbieren kann.
|
Domlager (Stützlager)
der Vorderachse:
Alle e36 haben an der Vorderachse
die gleichen Domlager (Produktionszeitpunkt beachten, siehe Hinweis
unter "Serienlager"),M3 3.0 und M3 3.2 weichen in der Geometrie
ab. Das Stützlager verbindet an beiden Achsen das obere Ende des
Stoßdämpfers elastisch mit dem Fahrzeugaufbau. Zusätzlich
muß die Kolbenstange des Dämpfers der gelenkten Achse drehbar
gelagert sein.
Bei allen gezeigten
Lagern ist die Fahrtrichtung von rechts nach links. Die exzentrischen
Lager haben jeweils einen Pfeil für die Einbaurichtung auf
der Oberseite. Die Lager vom M3 3.2 sind zusätzlich noch mit "L" und
"R" beschriftet.
|
Seriendomlager
316i - 328i, alle Aufbauarten:
Hier ist die Aufnahme
des Dämpfers mittig angeordnet. Der Nachlauf ist konstruktiv
festgelegt
 |
Bei
6-Zylinder Modellen (Benzin und Diesel) des E36 aus der
Produktion bis 6/92 wurde ein konstruktiv anders ausgelegtes
Lager verbaut. Federbeine, Federwicklung und Teller sind
bei diesen Modellen anders, Einzelteile aus späterer
Produktion können nicht verwendet werden.
Näheres
dazu unter dem Punkt: "Vorderachsumbau auf letzten
Produktionsstand". |
|
|
Domlager
M3 3.0:
Hier ist die Aufnahme
des Dämpfers exzentrisch angeordnet. Die Dämpferaufnahme
ist in Fahrtrichtung nach hinten verlagert. Auch hier ist der Nachlauf
konstruktiv festgelegt und nicht einstellbar, aber größer
als beim Serien-Domlager. |
|
Domlager
M3 3.2: (Bild zeigt rechtes Domlager)
Hier ist die Aufnahme
des Dämpfers ebenfalls exzentrisch angeordnet. Die Dämpferaufnahme
ist in Fahrtrichtung nach hinten verlagert (weiter als beim M3
3.0, daher immer beim Einbau auf Freigängigkeit der Federung
achten!). Auch hier ist der Nachlauf konstruktiv festgelegt und
nicht einstellbar, aber größer als beim Serien-Domlager.
Zudem ist die
Dämpferaufnahme nach Außen versetzt.
 |
Wenn
man die M3 3.2 Domlager "seitenverkehrt" verbaut,
erhällt man einen deutlich größeren negativen
Sturz, da die Dämpferaufnahme zur Fahrzeugmitte verlagert
wird. Achtung: Auf freigängigkeit der Federung achten! |
|
|
|
Änderungen
der Achsgeometrie wirken sich immer auf das Fahrverhalten aus!
Es kann zu erhöhten Lenkkräften kommen und/oder Auswirkungen
auf die Spurtreue haben. Achswerte müssen nach Umbauten
immer kontrolliert und ggf. eingestellt werden! |
|
|
Mein
"Schraubertip": Das Serien-Stützlager beibehalten
und das exzentrische Querlenkerlager des M3 3.0 verbauen. Dieser
Umbau ist recht kostengünstig und verbessert deutlich das
Handling und die Spurtreue da das Lager straffer ist, sowie der
Nachlauf und der Radstand vergrößert werden.
Optional kann auch
noch das Stützlager vom M3 3.0 verbaut werden, die Teile
sind mit über 60,- Euro pro Stück aber schon nicht ganz
billig und der Nutzen steht in keinem Verhältnis zum Aufwand.
Der Umbau ist deutlich aufwendiger.
Mögliche Fehlerquellen:
Bei auftretenden Klappergeräuschen an der VA sollte die Dichtscheibe
(Teilenummer s.u.) zwischen Domlager und Fahrzeugaufbau auf jeden
Fall verbaut werden.
|
| |
Domlager
316i - 328i
Domlager M3 3.0
Domlager M3 3.2 RE
Domlager M3 3.2 LI
Dichtscheibe
|
31 33 6 764 947
31 33 2 228 345
31 33 2 227 898
31 33 2 227 897
31 33 1 094 288 |
|
Pendelstütze:
 |
Die Pendelstütze überträgt die Bewegung des Federbeins/Querlenkers
relativ zum Aufbau auf den Hebelarm des Stabilisators.
An der Vorderachse macht sich eine verschlissene Pendelstütze
durch Klapper- und Poltergeräusche bemerkbar. Die Fahrsicherheit
wird nicht sonderlich beeinträchtig. Um alle Fehlerquellen für
Geräusche auszuschliessen, kann der Stabilisator beim Wechsel
der Pendelstützen gleich neu gelagert werden.
Das Bild zeigt die Kurze Version der VA-Pendelstütze, wie sie
nach 10/91 verbaut wurde (nicht M3). |
 |
Pendelstütze kurz (e36 nach
10/91, nicht M3)
Pendelstptze lang (e36 vor 10/91, nicht M3)
Mutter |
31 51 1 091 764
31 51 1 143 582
07 12 9 922 716 |
|
Stabilisator:
Der Stabilisator ist ein
Federelement beim Automobil, das zur Verbesserung der Strassenlage beiträgt.
Die Federwirkung wird
durch die Verdrehung (Torsion) von runden Drehstäben erreicht.
Der Mittelteil des
Stabilisator ist drehbar an der Karosserie, die abgewinkelten Enden,
die als Hebel wirken, sind über Gummielemente an den Radaufhängungen,
beispielsweise Querlenkern, angebracht. Beim
Anheben eines Rades (Einfedern) wird über die Verdrehung des Stabilisators
das andere Rad ebenfalls angehoben, beim Absenken ebenso gesenkt. Dadurch
wird bei Kurvenfahrten dem übermässigen Wanken der Karosserie
entgegengewirkt. Bei gleichzeitigem Einfedern beider Räder tritt
der Stabilisator nicht in Aktion.
 |
Serien-Stabis
könne durch Teile stärkerer Ausführung ersetzt werden
um die Kurvenneigung weiter zu vermindern. Solche Stabi Kits werden
z.B. von Eibach als "Anti-Roll-Kit" angeboten. Es können
auch Stabis mit anderem Durchmesser aus anderen BMW Fahrwerken (z.B.
M-Sportfahrwerk) verwendet werden. Es sind dabei nur immer die passenden
Lagergummis zu verwenden. |
 |
Das Verhältnis
zwischen Vorderachs- und Hinterachsstabi sollte erhalten bleiben.
Ändert sich das Verhältnis zu stark kann sich das negativ
auf das Fahrverhalten auswirken. Starkes Unter- oder Übersteuern
ist die Folge. Es sollte immer auf ein für das Fahrzeug abgestimmtes
Komplettpaket zurückgegriffen werden. |
Umbau
Fahrwerk Vorderachse auf letzten Produktionsstand:
Entscheidet
man sich für ein Fahrwerk (Feder-Dämpfer Kombination) aus
dem Zubehör, so fällt auf das viele Fahrwerke erst ab einem
gewissen Produktionsdatum verfügbar sind. Die Stichtage sind "10/91"
und "06/92".
Was hat es
mit diesen Daten auf sich? Wie weiter oben schon beschrieben wurden
an zu diesen Produktionszeitpunken konstruktive Änderungen an der
Vorderachse des E36 vorgenommen:
- Domlager
Vorderachse 6-Zylinder bis 6/92:
 |
<
bis 6/92
nach 6/92 > |
 |
Wie im Vergleich deutlich
zu sehen ist, sind beim letzten Produktionsstand (nach 6/92) oberer
Federteller und Domlager nicht mehr als einzelnes Teil sondern getrennt
ausgeführt. Die Befestigungspunkte für das Domlager an der
Karosserie hat sich dagegen an diesem Zeitpunkt nicht geändert.
Gut zu erkennen ist die Ausführung "bis 6/92" an der
Kegelförmigen Kappe die bei diesem Baujahr aus dem Dom in den Motorraum
ragt (Bild links, oben links).
- Stabilisator bis 10/91
(gilt für alle Modelle):
Am genannten Datum wurde
die Ansteuerung des Stabilisators geändert. Die Anlenkung erflogte
bis dahin über eine lange, nach oben gerichtete Pendelstütze,
welche knapp unterhalb des unteren Federtellers am Federbein befestigt
wurde. Bei der Produktionsänderung 10/91 fiel dieser obere Befestigungspunkt
weg, statt dessen wurde die Pendelstütze nach unten gerichtet,
verkürzt und mit einem Halter in der Nähe des Radführungsgelenkes
am Querlenker befestigt.
Was ist also zu tun?
Vorweg genommen, hat man
einen 6-Zylinder aus der Produktion von vor 10/91 und möchte ein
Fahrwerk nach aktuellem Stand einbauen, so hat man den meissten Aufwand
und die höchsten Kosten zu erwarten. Was in der Abhängigkeit
des Fahrzeuges und des Baujahres geändert werden muß kann
tabellarisch dargestellt werden:
| |
Stabiänderung |
Domlageränderung |
| 4-Zylinder Produziert
bis 10/91 |
JA |
NEIN |
| 4-Zylinder Produziert
von 10/91 bis 6/92 |
NEIN |
NEIN |
| 6-Zylinder Produziert
bis 10/91 |
JA |
JA |
| 6-Zylinder Produziert
von 10/91 bis 6/92 |
NEIN |
JA |
Stabiänderung: Das Problem
bei der Stabiänderung ist, das nicht einfach die lange Pendelstütze
gegen die kurze getauscht werden kann. Der Aufnahmepunkt am Federbein
ist weiter nach hinten versetzt als der Aufnahmepunkt am Querlenker.
Dadurch fluchten die Befestigungspunkte von "altem" Stabi
mit "neuer" Pendelstützenaufnahme am Querlenker nicht.
Die Hebelarme des alten Querlenkers sind für die neuen Pendelstützen
zu lang. Es muß also ein Stabi mit passenden Abmessungen eingebaut
werden.
 |
Für
eine geeignete Ausführung eines Vorderachs Stabilisators
kommen zwei Möglichkeiten in Frage:
1. Verwendung eines
Stabis aus dem Produktionsstand der entsprechenden Motorisierung
zwischen 10/91 und 6/92.
2. Alternativ dazu
der Stabi vom M3, dieser hat nahezu die gleichen Hebelarme.
6-Zylinder
ohne M-Sportfahrwerk - Stabi 25,0mm |
31
35 1 090 180; 2x Lager 31 35 1 090 186 |
| 6-Zylinder
mit M-Sportfahrwerk - Stabi 25,5mm |
31 35 1 090 182;
2x Lager 31 35 1 090 268 |
4-Zylinder
ohne M-Sportfahrwerk - Stabi 22,5mm |
31 35 1 091 198;
2x Lager 31 35 1 090 300 |
4-Zylinder mit M-Sportfahrwerk - Stabi 26,0mm |
31 35 1 091 308;
2x Lager 31 35 1 140 188 |
M3
- Stabi 22,5mm |
31 35 2 227 241;
2x Lager 31 35 1 090 300 |
2x
Pendelstütze kurz |
31 35 1 091 764 |
2x
Schraube |
07 11 9 912 506 |
2x
Mutter |
07 12 9 922 716 |
4x
Mutter |
07 12 9 964 672 |
2x
Beilagscheibe |
31 11 1 114 348 |
2x
Halter |
31 35 1 127 263 |
|
Domlageränderung: Um
beim 6-Zylinder Dämpfer und Federn eines Fahrwerkes ab 6/92 in
ein Fahrzeug vor 6/92 einzubauen muß man alle Federbeinteile passend
zur Dämpfer-Federkombination verbauen.
 |
"Kleinteile"
zum Umbau der Vorderachse-Federbeine auf den letzten Produktionsstand:
2x
Mutter |
31 32 1 139 422 |
2x
Beilagscheibe |
33 31 1 125 915 |
2x
Stützlager |
31 33 6 764 947 |
2x
Abdeckung |
31 31 1 139 453 |
6x
Mutter |
31 33 1 092 887 |
2x
Dichtscheibe |
31 33 1 094 288 |
2x
Staubmanschette |
31 33 1 110 196 |
2x
Beilagscheibe |
31 33 1 116 983 |
2x
Federteller |
31 33 1 135 580 |
2x
Federunterlage |
31 33 1 128 523 |
2x
Dämpfer (ohne M-Sportfahrwerk) |
31 33 1 124 449 |
2x
Dämpfer (mit M-Sportfahrwerk) |
31 33 1 133 513 |
2x
Schutzrohr |
31 33 1 137 932 |
2x
Federunterlage |
31 33 1 090 479 |
|
 |
Vor solchen
gravierenden Umbauten sollte beim zu verbauenden Fahrwerk geprüft
werden ob das TÜV Gutachten an eine Baujahr-Beschränkung
gebunden ist! Der Umbau sollte immer im Vorfeld mit einem Prüfer
abgesprochen werden. |
Hinterachse:
Die Hinterachse des e36 ist
relativ unanfällig, bis auf
zwei Schwachstelle: Das Stützlager und die Längslenkerlager.
Beim Compact und Z3 sind neben den Stützlagern auch die äusseren
Gummilager des Hinterachs-Querträgers ein häufiger Grund für
schlechtes Fahrverhalten und eine nicht erteilte Plakette bei der nächsten
HU.
Stützlager Hinterachse:
Diese Lager verbinden die
Kolbenstange des Hinterachsdämpfers mit dem Fahrzeugaufbau.
Die Vulkanisierung zwischen
der Trägerplatte mit Verschraubung und der mittleren metallischen
Führung löst sich beim Serienteil relativ schnell. Poltern,
klappern oder Knarz- und Quietschgeräusche sind dann deutlich
an der Hinterachse wahrnehmbar.
 |
Ein defektes
Stützlager verursacht die gleichen negativen Fahreigenschaften
wie ein defekter Stoßdämpfer, da der Dämpfer
nicht unmittelbar auf Fahrzeugschwingungen reagieren kann! |
 |
Anstelle
der Serienteile sollten die des e46 (!) M3 o. des e36 M3 verwendet
werden. Diese Teile weisen eine deutlich
höhrer Haltbarkeit auf. Zudem kann eine Versteifungsplatte
(aus dem Z3 - Bild oben rechts -) von der Innenseite der Karosserie
verschraubt werden. Diese verhindert eine zu hohe Beanspruchung
des Fahrzeugbleches. |
| |
Stützlager Serie
e36 316-328 u. Z3
Stützlager M3
3.0 u. M3 3.2
Stützlager
e46 M3/Cabrio
Versteifungsplatte
Z3
Papierdichtung
|
33 52 1 092 362
33 52 1 137 972
33 52 6 754 096
51 71 8 413 359
33 52 1 128 734 |
|
Längslenkerlager
(vorne) Hinterachse (Limo, Coupe, Touring, Cabrio):
 |
Beim
M3 3.2 werden für die Verbindung des Längslenkers mit
dem Aufbau steifere Lager verwendet (316i - M3 3.0 sind identisch).
Dadurch wird das Ansprechverhalten der Hinterachse verbessert
und die Hinterräder werden spurstabiler.
Die kompletten Längslenker
können nicht einfach vom M3 übernommen werden, da sie
eine andere Bremsenaufnahme als die Nicht-M-Modelle haben. |
 |
Nach dem
Tausch der Lager muß in jedem Falle eine Fahrwerksvermessung
durchgeführt werden da am Lagerhalter die Spur der Hinterräder
eingestellt wird und diese Werte bestimmen zusätzlich die geometrische
Fahrachse. |
Die Lager werden ähnlich
wie die Radführungsgelenke mit Spezialwerzeug umgepresst. BMW verwendet
meist Universal-Abzieher der Marke "Kukko" sowie eine seperate
Einziehvorrichtung.
 |
Im Zubehör sind
spezielle Einziehvorrichtungen erhältlich.
Ein Ausbau des Längslenkers
ist auch mit diesen Werkzeugen nicht erforderlich. |
 |
 |
Wichtiger
Hinweis: Beim Zusammenbau muß der Lagerkorb in spezieller
Lage zum Längslenker angeschraubt werden (siehe Bild rechts).
Dazu wird Stab mit einem Durchmesser von 8mm an den Lagerbock
gelegt und zum Radmittelpunkt ausgerichtet.
Anzugsdrehmoment für
Lagerschraube: 110Nm |
 |
Es sind unterschiedliche
Lagervarianten bei BMW erhältlich. Der Umbau erfolgt aber unabhängig
davon immer gleich. Im Zweifelsfalle den nächsten BMW Vertragshändler
zu Rate ziehen.
 |
Lager
Längslenker M3 3.2
Bundmutter
|
33
32 2 228 153
33 32 6 751 446 |
|
Tonnenlager HA-Querträger
e36 Compact, Z3:
 |
Das Tonnenlager
(weitere Bezeichnungen: Silentlager, Querträgerlager,
Deltaträgerlager...) ist ein Häufiger Grund für
Klappergeräusche an der Hinterachse, besonders beim Überfahren
von Unebenheiten wie Gullideckel etc., und das Nicht-Bestehen der
Hauptuntersuchung beim TÜV.
Muß dieses Bauteil wg.
Verschleiß erneuert werden, braucht man auch hier wiedereinmal Spezialwerkzeug
zum Aus- und Einpressen.
Das Tonnenlager befindet
sich jeweils vor den Hinterrädern des Fahrzeuges. Das Bild
zeigt das Lager schon mit gelöster Haltemutter für den
bevorstehenden Ausbau.
|
Weitere Komponenten:
Neben dem Verbauen von anderen
Feder-/Dämpferkombinationen und stärkeren
Stabilisatoren an der Vorder- und Hinterachse gibt es noch die Möglichkeit,
mit originalen BMW Teilen das Fahrwerk zu verbessern.
 |
Beim e36
Cabrio/Z3 befindet sich unter der Ölwanne ein Versteifungskreuz.
Dieses hat vier Befestigungspunkte: Hinten wird es an Stelle der
Strebe unter der Getriebeglocke befestigt, die vorderen Befestigungspunkte
befinden sich am Achsträger (etwa unterhalb der Motorlager).
Das Bauteil verstärkt den vorderen Fahrzeugaufbau,
ist leicht zu montieren und genau so effizient wie eine Domstrebe.
Es paßt
für alle e36 Modelle mit 4- und 6-Zylinder Benzinmotoren. |
 |
Versteifungkreuz
4x Schraube mit U-Scheibe
4x Bundnietmutter
|
51 71 8 410 212
07 11 9 916 093
51 71 8 175 003 |
|
Fahrwerksidentifikation:
Oft wird
die Frage gestellt welches Fahrwerk denn überhaupt verbaut ist.
Das ist nicht ganz einfach zu beantworten, hängt es doch von vielen
Faktoren ab:
- Ist es
das Fahrwerk welches ab Werk verbaut ist?
- Sind noch
originale Teile verbaut?
- Sind Fahwerkskomponenten
"gemischt" worden?
- Ist das
Fahrwerk nachgerüstet worden?
Im Endeffekt
ist das Fahrwerk nur identifizierbar wenn es noch vollkommen original
ist. Da man aber selbst das nicht immer weis, kann man nur Anhaltspunkte
liefern.
So z.B. anhand
der Ausführung der Zusatzfeder (Gummipuffer um die Kolbenstange)
am Federbein der Vorderachse.
 |
Maß
A (gilt nur für 316i bis 328i):
16mm: Serienfahrwerk.
8mm: M-Sportfahrwerk
mit Tieferlegung.
Keine Zusatzfeder:
Federbein "AVUS-" oder "Class II-Edition". |
Weiterhin gibt es zu jedem
Fahrzeug einen Eintrag zu der ab Werk verbauten Sonderausstattung. Diese
ist zum einen im Serviceheft vermerkt, zum anderen steht die Aussattungsliste
auf einem Zettel welcher sich unter der Sitzfläche der Rückbank
befindet. Wenn beide Informationen nicht verfügbar sind besteht
die Möglichkeit eine email mit der entsprechenden Fahrgestellnummer
an kundenbetreuung@bmw.de zu senden. Der Code für die Sonderaussattung
"M-Sportfahrwerk mit Tieferlegung" ist "N704A".
Da beim M-Sportfahrwerk Stabilisatoren
mit größerem Durchmesser verbaut sind dient das als zusätzliches
"Indiz" für das verbaute Fahrwerk (Auszugsweise,
Beispieltabelle):
| |
Serie (mm) |
M-Sportfahrwerk
mit Tieferlegung (mm) |
| 316i Limo Coupe M43
(VA) |
22,5 |
26,0 |
| 316i Limo Coupe M43
(HA) |
nicht verbaut |
18,0 |
| 320i, 323i, 325i, 328i
M50/M52 Coupe, Cabrio, Limo (VA) |
24,0 |
25,5 |
| 320i, 323i, 325i, 328i
M50/M52 Coupe, Cabrio, Limo (HA) |
15,0 |
18,0 |
 |
Der Durchmesser
der Stabilisatoren häng nicht nur vom Motor sondern auch vom
Baujahr ab. Für eine defintive Zuordnung sollte der lokale
BMW Händler zur Rate gezogen werden.) |
Einstellungssache:
Welche Achswerte kann man beim e36 einstellen und welche nicht?
Ab Werk
ist beim e36 (auch Compact) an der Vorderachse lediglich
die Spur durch verlängern/verkürzen der Spurstangen einstellbar.
Aber auch der Sturz kann
in gewissem Maße verändert werden:
 |
BMW bietet Herstellerseitig eine sog. "Sturzkorrekturschraube"
für die Vorderachse des e36 an.
Diese Schraube (siehe
Bild) wird anstelle der serienmäßig verbauten
"Passschraube" verbaut. Dadurch erhält die Verschraubung
etwas Spiel und der Winkel zwischen Federbein und Achsschenkel
kann
verändert werden.
Streng genommen ändert
man damit die Spreizung, aber da die Dämpferlage nicht
geändert wird, spricht man automatisch von einer
"Sturzänderung". |
|
Das Bild
zeigt die Passschraube im eingebauten Zustand. Rechts ist das
Federbein, links das Hitzeblech der Bremsscheibe |
 |
Sturzkorrekturschraube |
07 11 9 900 587 |
|
|
Die Sturzkorrekturschraube
sollte nur dann verwendet werden, wenn sich z.B. durch einen
Tausch der Federn der Sturz außerhalb
der Grenzwerte befindet. |
Hinterachse (Compact):
Die Hinterachse des e36
Compact bietet -von Werk aus- keinerlei Einstellmöglichkeiten.
Sollten die Achswerte außerhalb der Toleranz liegen, ist meist
ein Tausch der entsprechenden Teile nötig oder sogar ein Richten
des Fahrzeugaufbaus.
Durch den Tausch geänderter
- und bei BMW erhältlicher -Schräglenkerlager ist es jedoch möglich
eine allzu stark abweichende Spur zu korrigieren. Dabei werden zwei
Lager mit exzentrisch angeordneter Mittelhülse verbaut und so gegeneinander
verdreht, das die Schräglenkerachse einen relativen Versatz zur Aufhängung
erfährt.
 |
Zitat BMW TIS:
"Notwendig Vorspurkorrekturen an der Hinterachse, hervorgerufen
durch ungünstiges Zusammentreffen von Toleranzen, können durch Einbau
exzentrischer Gummilager ausgeglichen werden.
ACHTUNG: Unfallbedingte Änderungen der Achsgeometrie dürfen keinesfalls
durch diese Maßnahme "beseitigt" werden.
[...]"
Abbildung links:
Austauschlager mit Einstellmarkierungen. |
Das nebenstehende Diagramm zeigt am Beispiel des
linkes Hinterrades des Compact / Z3 die Einstellwerte zur Vorspurkorrektur.
Der Einbau der Lager sollte auf jeden Fall einer BMW Werkstatt
überlassen werden, da das korrekt Einstellen der Achswerde nur
mit einem Achsvermessungsstand durchzuführen ist.
Eine Änderung des Sturzes ergibt sich aus dieser Umbaumaßnahme
nicht. Zur Sturzkorrektur beim Compact und Z3 bietet BMW keine
Bauteile an.
|
 |
 |
Satz Gummilager HA exzentrisch |
33 32 9 058 822 |
|
Hinterachse (limo, Coupe, Cabrio, Touring):
Bei allen anderen Aufbauvarianten lassen sich an der Hinterachse sowohl
Spur als auch der Sturz einstellen:
 |
Spureinstellung:
Die Längslenkeraufhängung
befindet sich in Fahrtrichtung vor den Hinterrädern. In
ihr befinden sich Langlöcher
quer zur Fahrzeugslängsachse. Somit kann (wenn auch in
sehr kleinem Maße)
die Spur an der Hinterachse eingestellt werden. |
 |
Sturzeinstellung:
Am unteren Querlenker (auch Druckstrebe genannt) befindet sich
eine Verschraubung mit exzentrischer Unterlegscheibe. Hiermit kann
der Sturz der Räder an der Hinterachse eingestellt werden. |
 |
Eine Einstellung des Sturzes bringt immer eine Änderung
der Spur mit sich. Daher MUSS zuerst der Sturz und danach die Spur
eingestellt werden! |
Zum Schluß:
Alle Informationen wurden von mir nach bestem Wissen und Gewissen
zusammengetragen.
Ich habe mich bei den Bildern in diversen öffentlichen Foren "bedient",
sollte jemand etwas gegen die Verwendung "Seines" Bildes einzuwenden
haben, so bitte ich um Mitteilung.
Alle Angaben (besonders die der BMW Teilenummer) sind natürlich OHNE
GEWÄHR!
Des Weiteren übernehme
ich keine Haftung für Schäden, die durch unsachgemässe
Arbeiten am Fahrzeug entstanden sind. Nochmal: Wer nicht weiß was
er tut, sollte die Finger davon lassen! Dieses Dokument gibt einen
technischen
Überblick und soll keine Reperaturanleitung darstellen.
Anregeungen, Ergänzungen,
Lob & Kritik bitte an den Autor
(ICQ: 324775862)
Noch eine Bitte: Wenn jemand
die Informationen auf dieser Seite kopieren möchte, dann bitte
ausschließlich komplett und vollständig und unter unter Angabe
der Quelle auf der Seite www.BMW-Syndikat.de.
Danke und viele Grüße,
"Hobbyschrauber"